이번엔 PI제어기에 미분 제어기(D)를 추가해보자.
미분제어기는 오차의 기울기이 비례하는 신호를 출력신호로 보내 오차가 빠르게 상승하거나 감소하면 느리게 하고 너무 느리면 신호를 빠르게 상승하거나 감소시킨다.
PID 제어기 블록을 열어 제어기를 PID로 변경하고 미분게인(D)을 35로 설정한다.
이때 필터 계수는 1000으로 설정한다. 필터계수는 센서에 노이즈가 생기면 이를 보정하기위해 사용하는 값으로 추후에 다루도록 하겠다.

Scope를 열고 실행하면 다음과 같다.

미분제어기가 추가됨에 따라
- 출력의 진동이 사라지고
- 정상상태에 안정하게 도달하는
것을 확인할 수 있다.
이러한 이유는 미분제어기가 PI 제어기에 의한 제어신호가 출력에 너무 큰 영향을 미쳐 진동하는 현상을 미분제어기에 의해 줄어들면서 오차가 적절한 속도로 감소하여 안정하게 정상상태 값으로 도달할 수 있게 하기 때문이다.
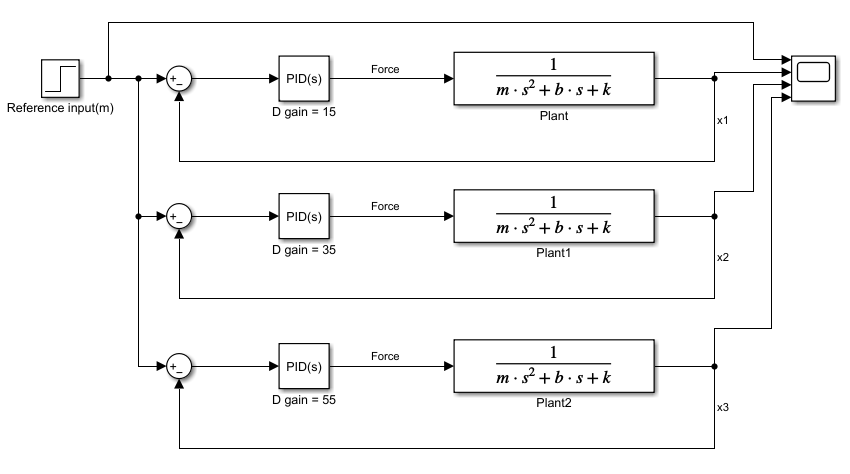
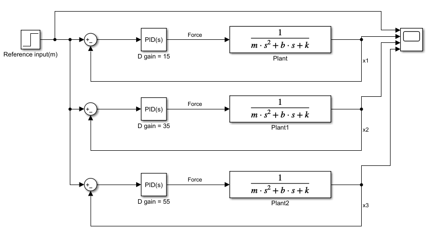
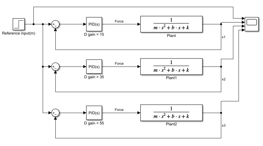
그럼 이번엔 미분 게인을 증가시키면 출력이 어떻게 달라지는지 확인해보자.
이전 시스템을 불러와 미분 게인(D)를 각각 15,35,55로 설정해보자.

Scope를 열고 실행하면 다음과 같다.

미분 게인 값이 클수록 오버슈트가 감소하고, 정착시간이 줄어들고 상승시간이 감소하는 등 여러 장점들이 있다는 것을 알 수 있다.
하지만 실제 시스템에선 센서에 노이즈가 존재하고, 미분 게인 값이 너무 크면 센서의 노이즈에 민감하게 반응하여 안정성이 오히려 떨어지는 결과를 초래한다. 그래서 저주파 필터 등 여러 기법들을 사용하여 실제 시스템을 제어하게 된다. 이 부분도 추후에 설명하도록 하겠다.
따라서 PID 제어기를 정리하자면
P제어기로 오차에 비례하는 신호를 발생시켜 오차를 감소시키고
I제어기로 오차를 적분하여 P제어기로 도달하지 못하는 정상상태 값에 도달하게 한 다음
D제어기로 오차가 증가하고 감소하는 속도를 조절하여 진동을 줄이면서 정상상태 값에 도달하게 하는 역할을 한다.
제어시스템을 PID 제어기를 이용하여 설계할떄, 오버슈트, 정착시간, 상승시간을 정의하여 도달하고자 하는 성능을 목표로 삼고, 각각의 게인(P,I,D gain)을 조절하면서 원하는 성능을 맞추도록 설계하게 된다.
이러한 설계 방법은 시스템마다 적절한 게인값도 다르고 원하는 성능도 다르기 때문에 게인 값을 설정하는데 있어 여러가지 기법들이 있지만 정답은 없다. 따라서 설계자의 경험과 지식이 필수적이다.
다음 글에서는 게인값을 설정하는 방법중 Simulink를 이용하여 자동으로 설정하는 방법을 알아보도록 하겠다.
'자동제어 > Simulink' 카테고리의 다른 글
| Simulink 기초 (7) 폐루프 제어, Closed loop system : 2.PI제어 (0) | 2023.03.26 |
|---|---|
| Simulink 기초 (6) 폐루프 제어, Closed loop system : 1.P제어 (0) | 2023.03.26 |
| Simulink 기초 (5) 개루프 제어, open-loop system control (0) | 2023.03.26 |
| Simulink 기초 (4) 전달함수, 블록선도 : 진동 - 감쇠 시스템 (0) | 2023.03.24 |
| Simulink 기초 (3) 2차 시스템 모델링 : 진동-감쇠 시스템, 시뮬레이션 설정 (0) | 2023.03.23 |
댓글